一、什么是CSCA?
CSCA是面向计划赴中国攻读本科学位的国际学生设计的标准化考试,旨在评估学生的语言能力与学术基础,帮助学生更好地为在中国的本科学习做准备。所有申请中国本科的国际学生均须参加CSCA,成绩将作为高校录取的最低学术要求之一。具体信息请访问https://csca.cn/home
二、考试科目与结构

计划桂林理工大学本科考生必考科目:数学(考试语言:中文)。其他专业考试科目要求详见招生简章。
三、2025-2026年考试时间
亚太地区:12月、4月、6月
欧美地区:1月、3月
(首考日期: 2025年12月21日)
温馨提示:SCNU招生截止日期为6月10日,CSCA考试结果两周后出成绩,请妥善安排考试时间。
四、考试形式
考试初期以居家网考为主,同时逐步在重点生源国家和地区设立线下考点(集中机考或纸笔考)。2025年CSCA将在越南、泰国两国设立首批线下考点,实现线上线下相结合的考试布局。目前,其他国家和地区的更多考点正在稳步建设中。
成绩公布:
网考/机考:7个工作日内
纸笔考:14个工作日内
五、考试费用
报考1科:450元人民币
报考2科及以上:700元人民币
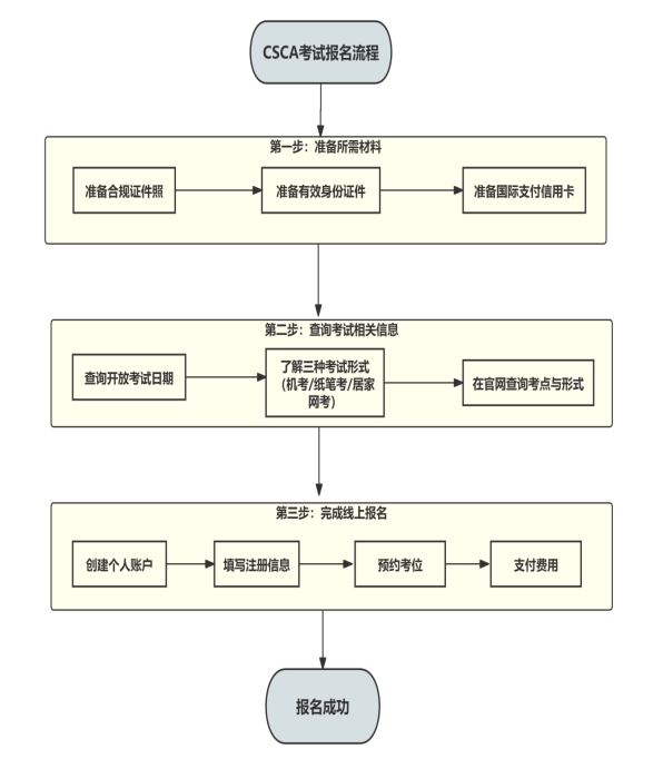
六、报名流程

①第一步:准备物品
请准备下列物品:
照片:请确保您已查看照片要求,并在注册前测试您的照片。
有效证件:您在网上注册时需要提供有效的政府签发身份证件信息。
信用卡:完成注册后,请使用我们接受的付款方式之一进行支付。
②第二步:查看考试相关信息
考试日期:
CSCA每年在1月、3月、5月、6月和12月举行,具体日期将在每年年初公布。
考试形式:
集中机考:您可以在授权考点通过电脑,在标准化条件下参加CSCA考试。
纸笔考试:您可以在授权考点以传统的纸笔形式参加考试。
居家网考:您可以在家参加考试,由在线监考员进行实时监控。
考点查询:官网查看您所在地区的考试形式和考点。
③第三步:创建账号并完成注册报名
创建账号并在线注册,具体流程包括:创建账户→填写注册表→预定考试→付款。
English Version
Instructions for China Scholastic Competency Assessment(CSCA)
I.What is CSCA?
CSCA is a standardized test designed for international students who plan to pursue undergraduate degrees in China. It assesses students’ language proficiency and academic readiness, and serves as an important reference for university admissions and scholarship evaluations.All international undergraduate applicants are required to take CSCA from 2026.Scores will serve as minimum admission criteria for universities. For details, please visit https://csca.cn/home
II. Test Subjects and Structure

Mathematics (Exam Language: Chinese) is required for the applicants of Chinese Language Major at SCNU.
III. Examination Dates for 2025-2026
Asia-Pacific region: December, April, June
Europe and America region: January, March
(First test date: December 21, 2025)
Warm reminder: The application deadline for SCNU is June 10th. The results of the CSCA exam will be available two weeks later. Please arrange your exam time properly.
IV.Test Format
Initially, CSCA will be conducted primarily in a remote, home-based online format, with onsite test centers (computer-based or paper-based) gradually established in major source countries and regions. In December 2025, the first onsite test centers will be launched in Vietnam and Thailand,marking the beginning of a hybrid testing model. Additional test centers in other countries and regions are currently under development.
Score release:
Online/Computer-based: within 7 working days
Paper-based: within 14 working days
V.Test Fees
One subject: CNY 450
Two or more subjects: CNY 700
VI.Registration Process

STEP 1: Prepare Required Items
Please prepare the following items:
Photo:Please ensure you have reviewed the photo requirements and test your photo before registering.
Valid ID:You are required to provide valid government-issued ID information when registering online.
Credit Card:After completing your registration, please proceed with the payment by using one of our accepted methods.
STEP 2: Check Test-Related Information
Test Dates:
CSCA is offered annually in January, March, May, June, and December. The specific dates are released at the start of each year.
Test Formats:
Computer-based: You can take CSCA at authorized test centers on a computer under standardized conditions.
Paper-based: It is delivered in a traditional paper-and-pencil format. It is typically offered in regions where computer-based CSCA is unavailable.
Home-based: You can take it from your home with a human proctor monitoring you online.
Test Centers Query: Check test formats and test centers in your region on the official website.
STEP 3:Create Account and Complete Online Registration
Create your account and register online. The specific process includes: Create account → Registration → Book your test → Make payment.